STX F.18.140.8.MCX
4Ω
8Ω
Full-range
| Nominal diameter | 6.5″ / 180 mm |
| Resonance | 51 Hz |
| Q factor | 0.79 |
| Sensitivity | 86.6 dB |
| Linear excursion | ± 4 mm |
| Program power | 140 W |
.jpg)
.jpg)
Specifications
- Sensitivity (1W, 1m, infinite baffle) SPL1W 86.6dB
- Frequency response 50 - 20000Hz
Thiele & Small parameters
- Resonance frequency (free air) fS 51Hz
- Mechanical quality factor QMS 2.45
- Electrical quality factor QES 1.20
- Total quality factor QTS 0.79
Large signal parameters
- Maximum linear excursion (one way) xmax 4mm
- Maximum excursion before damage xlim 10mm
- Air volume displaced at xmax VD 53cm³
- Power handling P 70W
- Program power Pmax 140W
Voice Coil
- Nominal impedance Z 8Ω
- DC resistance RE 5.4Ω
- Inductance (1kHz) LE 0.15mH
- VC Diameter 25mm
- Winding material Copper-clad aluminum
- Former material Aluminium
Magnet
- Force factor Bl 3.9N/A
- Motor constant Bl/√RE 1.68N/√W
- Material Ferrite
Diaphragm
- Effective diameter 130mm
- Effective area SD 133cm²
- Moving mass (including air load) MMS 10.1g
- Moving mass MMD 8.9g
- Material Modified cellulose
Suspensions
- Stiffness KMS 1.03N/mm
- Compliance CMS 970µm/N
- Equivalent volume to the compliance VAS 24L
- Mechanical resistance RMS 1.32N·s/m
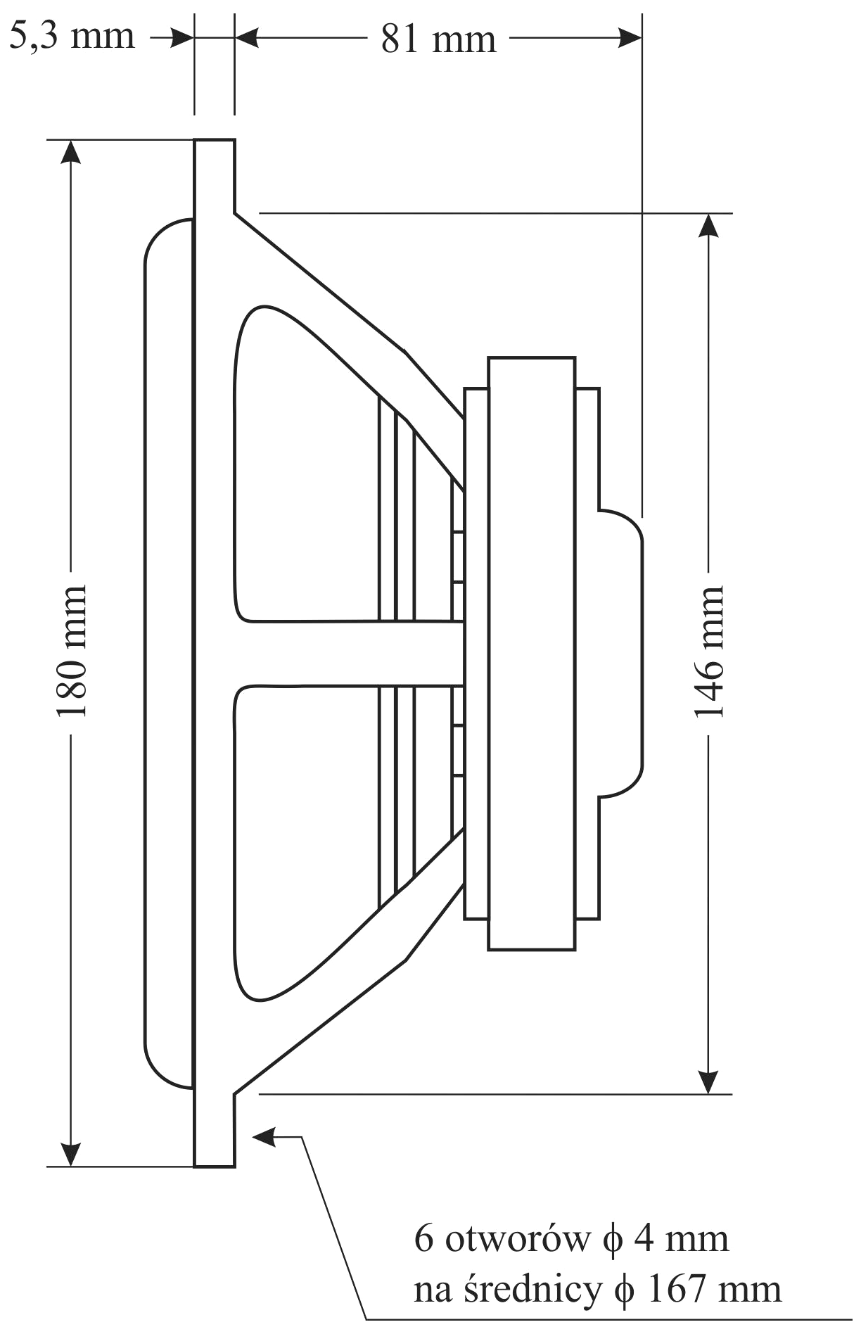
Dimensions
- Nominal diameter 6.5″
- 180mm
- Overall diameter 180mm
- Baffle cutout diameter 146mm
- Overall depth 87mm
- Flange thickness 5mm
- Mounting depth 81mm
- Volume occupied by the driver (estimated) 0.4L
- Net weight 0.9kg
- Frame material Plastic (ABS)
.webp)
.webp)
Export this driver to a box design software:
Closed Box Simulator·
Speakerbench
WinISD
Basta!
Hornresp
QSpeakers
SpeakerSim
MfbLabs
Amplion.jpg.webp)
.jpg.webp)
.jpg.webp)