STX F.18.140.4.WMCX
4Ω
8ΩFull-range
| Nominal diameter | 8″ / 180 mm |
| Resonance | 52 Hz |
| Q factor | 0.71 |
| Sensitivity | 86.9 dB |
| Linear excursion | ± 4 mm |
| Program power | 140 W |
.jpg)
.jpg)
Specifications
- Sensitivity (1W, 1m, infinite baffle) SPL1W 86.9dB
- Frequency response 50 - 20000Hz
Thiele & Small parameters
- Resonance frequency (free air) fS 52Hz
- Mechanical quality factor QMS 2.41
- Electrical quality factor QES 1.01
- Total quality factor QTS 0.71
Large signal parameters
- Maximum linear excursion (one way) xmax 4mm
- Maximum excursion before damage xlim 10mm
- Air volume displaced at xmax VD 53cm³
- Power handling P 70W
- Program power Pmax 140W
Voice Coil
- Nominal impedance Z 4Ω
- DC resistance RE 3.3Ω
- Inductance (1kHz) LE 0.09mH
- VC Diameter 25mm
- Winding material Copper Clad Aluminium
- Former material Aluminum
Magnet
- Force factor Bl 3.42N/A
- Motor constant Bl/√RE 1.88N/√W
- Material Ferrite
Diaphragm
- Effective diameter 130mm
- Effective area SD 133cm²
- Moving mass (including air load) MMS 10.9g
- Moving mass MMD 9.7g
- Material Cellulose
Suspensions
- Stiffness KMS 1.16N/mm
- Compliance CMS 860µm/N
- Equivalent volume to the compliance VAS 21L
- Mechanical resistance RMS 1.48N·s/m
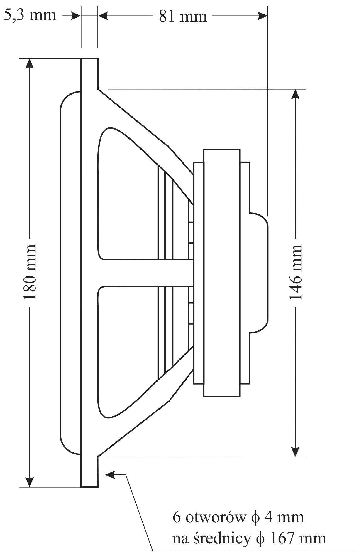
Dimensions
- Nominal diameter 8″
- 180mm
- Overall diameter 180mm
- Baffle cutout diameter 146mm
- Overall depth 87mm
- Volume occupied by the driver (estimated) 0.4L
- Net weight 0.9kg
- Frame material Plastic
.webp)
.webp)
Export this driver to a box design software:
Closed Box Simulator·
Speakerbench
WinISD
Basta!
Hornresp
QSpeakers
SpeakerSim
MfbLabs
Amplion.jpg.webp)
.jpg.webp)
.jpg.webp)