STX W.38.500.8.MC
4Ω
8Ω
Mid Bass
| Nominal diameter | 15″ / 380 mm |
| Resonance | 32 Hz |
| Q factor | 0.41 |
| Sensitivity | 94.7 dB |
| Linear excursion | ± 5 mm |
| Program power | 500 W |
.jpg)
.jpg)
Specifications
- Sensitivity (1W, 1m, infinite baffle) SPL1W 94.7dB
- Frequency response 40 - 4000Hz
Thiele & Small parameters
- Resonance frequency (free air) fS 32Hz
- Mechanical quality factor QMS 3.17
- Electrical quality factor QES 0.48
- Total quality factor QTS 0.41
Large signal parameters
- Maximum linear excursion (one way) xmax 5mm
- Maximum excursion before damage xlim 15mm
- Air volume displaced at xmax VD 428cm³
- Power handling P 250W
- Program power Pmax 500W
Voice Coil
- Nominal impedance Z 8Ω
- DC resistance RE 5.1Ω
- Inductance (1kHz) LE 0.74mH
- VC Diameter 50mm
- Winding material Copper
- Former material Aluminum
Magnet
- Force factor Bl 12.8N/A
- Motor constant Bl/√RE 5.67N/√W
- Material Ferrite
Diaphragm
- Effective diameter 330mm
- Effective area SD 855cm²
- Moving mass (including air load) MMS 80g
- Moving mass MMD 62.7g
- Material Modified cellulose
Suspensions
- Stiffness KMS 3.23N/mm
- Compliance CMS 310µm/N
- Equivalent volume to the compliance VAS 315L
- Mechanical resistance RMS 5.07N·s/m
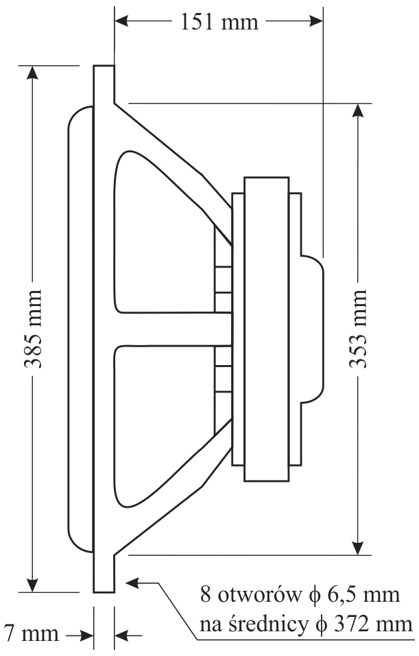
Dimensions
- Nominal diameter 15″
- 380mm
- Overall diameter 385mm
- Baffle cutout diameter 353mm
- Overall depth 158mm
- Volume occupied by the driver (estimated) 2.8L
- Net weight 4.9kg
- Frame material Steel
.webp)
.webp)
Export this driver to a box design software:
Closed Box Simulator·
Speakerbench
WinISD
Basta!
Hornresp
QSpeakers
SpeakerSim
MfbLabs
Amplion.jpg.webp)
.jpg.webp)
.png.webp)