STX W.15.160.8.FCX
8Ω
16ΩWoofer
| Nominal diameter | 6″ / 150 mm |
| Resonance | 37 Hz |
| Q factor | 0.35 |
| Sensitivity | 86.4 dB |
| Linear excursion | ± 5.3 mm |
| Program power | 160 W |
.jpg)
.jpg)
Specifications
- Sensitivity (1W, 1m, infinite baffle) SPL1W 86.4dB
- Frequency response 30 - 10000Hz
Thiele & Small parameters
- Resonance frequency (free air) fS 37Hz
- Mechanical quality factor QMS 6.30
- Electrical quality factor QES 0.37
- Total quality factor QTS 0.35
Large signal parameters
- Maximum linear excursion (one way) xmax 5.3mm
- Maximum excursion before damage xlim 9mm
- Air volume displaced at xmax VD 50cm³
- Power handling P 100W
- Program power Pmax 160W
Voice Coil
- Nominal impedance Z 8Ω
- DC resistance RE 5.1Ω
- Inductance (1kHz) LE 0.18mH
- VC Diameter 25mm
- Winding material Copper
- Former material Glass Fiber
Magnet
- Force factor Bl 5.9N/A
- Motor constant Bl/√RE 2.61N/√W
- Material Ferrite
Diaphragm
- Effective diameter 110mm
- Effective area SD 95cm²
- Moving mass (including air load) MMS 10.9g
- Moving mass MMD 10.2g
- Material Carbon fiber
Suspensions
- Stiffness KMS 0.606N/mm
- Compliance CMS 1650µm/N
- Equivalent volume to the compliance VAS 21L
- Mechanical resistance RMS 0.4N·s/m
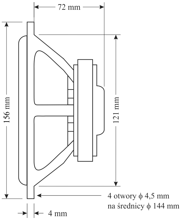
Dimensions
- Nominal diameter 6″
- 150mm
- Overall diameter 156mm
- Baffle cutout diameter 121mm
- Overall depth 76mm
- Volume occupied by the driver (estimated) 0.44L
- Net weight 1.4kg
- Frame material Aluminium
.webp)
.webp)
Export this driver to a box design software:
Closed Box Simulator·
Speakerbench
WinISD
Basta!
Hornresp
QSpeakers
SpeakerSim
MfbLabs
Amplion.jpg.webp)
.jpg.webp)
.jpg.webp)